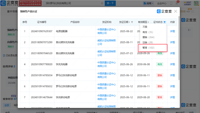
近日,深圳罗马仕科技有限公司多个快充移动电源强制性产品认证证书(3C证书)状态变更为“撤销”。

此前,罗马仕深陷安全问题风波后,名下的多个快充移动电源3C证书状态变更为“暂停”。目前,罗马仕仍有多份3C证书处于暂停状态,尚未恢复。

在被曝已进入破产程序后,罗马仕员工向媒体表示,“国庆节前应该会有结果——由于证书暂停不得超过三个月,若9月底仍未恢复,所有库存产品都将销毁。”该人士还表示,“如果届时将无法恢复生产和售卖产品,最终要么注销,要么走向破产。”

近日,深圳罗马仕科技有限公司多个快充移动电源强制性产品认证证书(3C证书)状态变更为“撤销”。
此前,罗马仕深陷安全问题风波后,名下的多个快充移动电源3C证书状态变更为“暂停”。目前,罗马仕仍有多份3C证书处于暂停状态,尚未恢复。
在被曝已进入破产程序后,罗马仕员工向媒体表示,“国庆节前应该会有结果——由于证书暂停不得超过三个月,若9月底仍未恢复,所有库存产品都将销毁。”该人士还表示,“如果届时将无法恢复生产和售卖产品,最终要么注销,要么走向破产。”