位置 > 资讯 > 文章

绿捷食安事件立案:低价中标上海近三成校园餐 致歉规避问题

9月23日,上海市公安局、上海市市场监督管理局、上海市教育委员会联合发布情况通报称,针对市民反映的上海绿捷实业发展有限公司9月15日供应上海市部分学校午餐中虾仁炒蛋存在问题,市委、市政府高度重视,相关部门迅速介入调查。现已查明,绿捷公司涉嫌瞒报食品安全相关信息,目前公安机关已立案侦查,并控制相关人员。

9月15日,上海多所学校学生家长反映,绿捷供应的午餐“虾仁炒蛋”存在异味,部分学校紧急撤换餐食,改发面包等替代品。当日,绿捷公司派驻静安区某小学经理在解冻虾仁时发现其中一盆(约18公斤)内有虫体,实际控制人张某某指令对供应211所学校的虾仁原料及菜品全部下架销毁,但已有50所学校完成供餐。次日,张某某要求对外统一宣称下架原因为“虾肠外溢、有泥沙”,蓄意隐瞒虫体问题。

实验室检测显示,涉事虾仁的沙门氏菌、副溶血性弧菌等指标均符合国家标准,但家长质疑“合规但变质”,认为感官异常已严重影响食品安全。此外,绿捷曾紧急删除上海市食品安全信息追溯平台中540天保质期牛肉、720天冷冻五花肉的溯源记录,引发对其长期使用超长保质期食材的担忧。

天眼查显示,绿捷公司涉及多起法律纠纷,案由包括生命权、身体权、健康权纠纷及劳动合同纠纷等。尽管家长投诉不断,绿捷仍在2025年8月中标20余所学校供餐项目。

绿捷瞒报延误应急,43字致歉未提核心问题

根据通告内容和目前消息看,绿捷食品在此次校园餐食安全事件中存在以下系统性问题:

首先是上文提到的虫体污染和应急处置失职问题。实际控制人张某某虽指令对供应211所学校的虾仁原料及菜品全部下架销毁,但此时已有50所学校完成供餐,涉及数万学生。事件暴露其原料验收环节存在严重疏漏,未在加工前发现虫体污染。

此外,最令家长愤怒的是,该公司实控人试图通过瞒报信息,蓄意隐瞒虫体问题。这一行为违反《食品安全法》关于“如实报告食品安全信息”的规定,导致家长和监管部门在事件初期误判风险,延误应急响应。

而公司在9月23日发布的仅43个字的致歉声明中,仍未提及虫体种类、已供餐学生健康追踪等核心问题。公司通过“选择性发声”降低公众关注度,缺乏基本的社会责任意识。

资料来源:绿捷食品微信公众号

涉事虾仁由上海翰霖实业有限公司报关,经上海优合鲜供应链有限公司供应,虽具备入境货物检验检疫证明,但绿捷未在加工前有效筛查虫体污染,暴露出原料验收环节的失职。

绿捷股权架构复杂,离岸嵌套难溯实控人

除食品安全问题外,公司通过复杂股权架构隔离实际控制人信息,也被诟病有规避监管的嫌疑。

天眼查显示,绿捷食品目前由香港Green Express Foods, Limited全资控股,而该公司又由多家离岸公司以多层嵌套的方式控股,这使得股权关系极为复杂,追溯实际控制人难度极大。

资料来源:天眼查

其中,值得注意的是,2018年9月,Kilcoy Global Foods(KGF)通过其旗下公司Green Express Foods, Ltd.,以约1.7亿美元的价格完成了对上海绿捷100%股权的收购,Green Express Foods成为上海绿捷的直接控股股东。

KGF的主要控股人的是Ananta信托和厚生投资,分别持有KGF45.44%和38.95%的股权,其中Ananta信托的代表人是新希望六和董事长刘永好之女刘畅,厚生投资的董事是新希望集团前副董事长王航(2025年4月卸任)。

虽然新希望集团和绿捷食品没有直接的股权关系,但通过这种复杂的人员和股权关联,新希望集团得以通过间接持股(合计超84%)实现了对KGF的绝对控制,进而掌控绿捷食品。

除资本控制外,Green Express Foods的三名董事——王航、张天笠、陈云仪均来自厚生投资。其中,王航作为新希望前副董事长,可以直接参与绿捷的战略决策;张天笠作为厚生投资创始合伙人,主导了对绿捷的收购与整合。这种人事安排或导致新希望集团既能通过资本控制绿捷,又能通过管理层干预日常运营。

借“报价分”高占比漏洞,绿捷低价中标获市场

此外,根据近期爆出的消息,绿捷食品在招投标机制中存在缺陷,并通过垄断性中标形成市场控制。

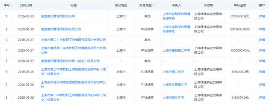
绿捷长期以“低价策略”参与投标,利用招标文件中“报价分”占比过高的漏洞,以低于市场平均成本的价格中标。例如,其供应上海市实验学校附属东滩学校的中标价为231万元,折算下来每餐成本不到3元,即便只算午餐也不过6元。然而家长实际缴费却是18元/餐,全年收费超过500万,几乎是中标金额的两倍。

绿捷食品近期中标情况(部分) 资料来源:天眼查

绿捷通过复杂股权架构形成“闭环生态”,将学生餐变为消化上游产能的渠道。其日供餐超50万份,占据上海近三成市场份额,形成“大而不能倒”的局面。

据天眼查数据,绿捷涉及64条司法案件(包括生命权、健康权纠纷),且长期被家长投诉“冻肉比例过高”“油炸食品超标”,但多数评标过程仍以“类似业绩最多、综合实力较强”为由推荐其中标。

绿捷的垄断地位导致家长缺乏选择权,更无法通过市场竞争倒逼企业提升质量,产生了“投诉越多、中标越多”的怪象。

【免责声明:作品来源于媒体,转载是出于传递信息之⽬的,版权归原作者所有。】